Patents
|
METHODS AND SYSTEMS FOR COMBINED LOSSLESS AND LOSSY CODINGAbstract:An encoder includes circuitry configured to receive a video signal and generate an encoded bitstream for decoding by a decoder which identifies, in the bitstream, a current frame, wherein the current frame includes a plurality of regions, detect, in the bitstream, an indication that a first region is encoded according to a lossless encoding protocol and another region is encoded according to a lossy encoding protocol, and decode the current frame, wherein decoding the current frame further comprises decoding the first region using a lossless decoding protocol corresponding to the lossless encoding protocol. |
|
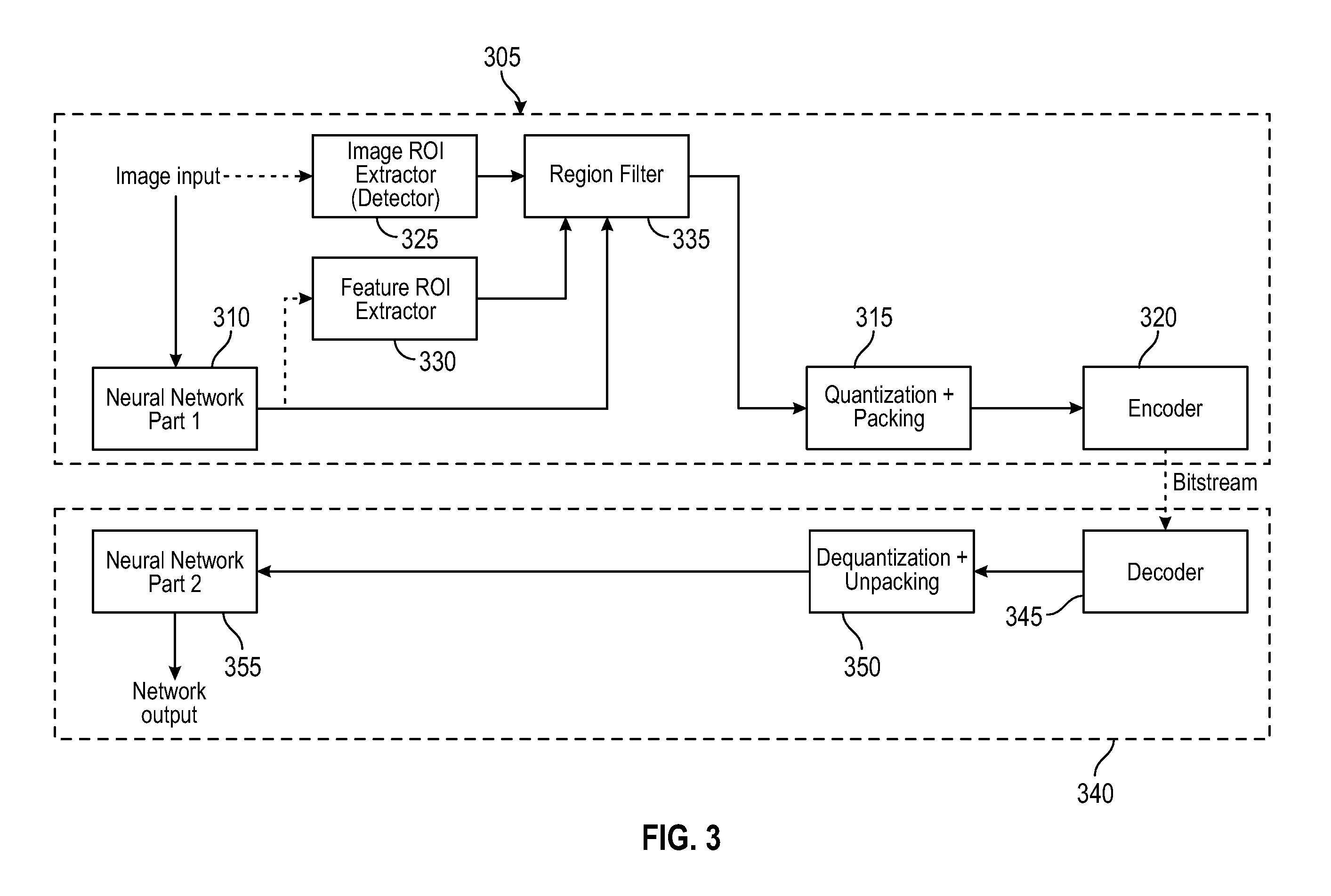
SYSTEMS, METHODS AND BITSTREAMS FOR REMOVING NON-ESSENTIAL FEATURE MAP INFORMATION IN MACHINE-BASED APPLICATIONS USING REGIONS OF INTERESTAbstract:Systems and methods for codecs for feature coding for machines with region of interest processing are provided. At an FCM encoder, a split neural network part 1 is configured to receive a video signal and generate a plurality of feature maps representing the video signal. A feature reduction module coupled to the NN Part 1 receives the plurality of feature maps and generating at least one reduced feature map. An image ROI extractor is configured to receive the video signal and perform detection methods to identify regions of interest in the video signal. A feature ROI extractor receives the feature maps and identifies regions of interest in the feature maps. A region filter removes content of the feature maps outside of the detected regions of interest. The remaining feature information for the regions of interest is provided in an encoded bitstream for transmission to an FCM decoder. |
|
SYSTEMS, METHODS AND BITSTREAMS FOR RECONSTRUCTION REFINEMENT IN FEATURE CODING OF VIDEO FOR MACHINESAbstract:Systems and methods are provided to improve encoding and decoding of video in a system for feature coding for machines (FCM). At the encoder, a calculate distribution properties process is applied to the feature maps output by a split NN front end to determine at least one probability distribution property of tensors of the feature maps. This process may operate only on detected regions of interest in the input images. The distribution properties may include an RMS determined for the tensors. At a decoder, a reconstruction refinement process uses the probability distribution property encoded in a bitstream to align the probability distribution properties of decoded and restored feature maps with the original feature maps and/or within regions of interest determined by the encoder and signaled in the bitstream. The refined and restored feature maps are applied to the split neural network back end for inferencing. |
|
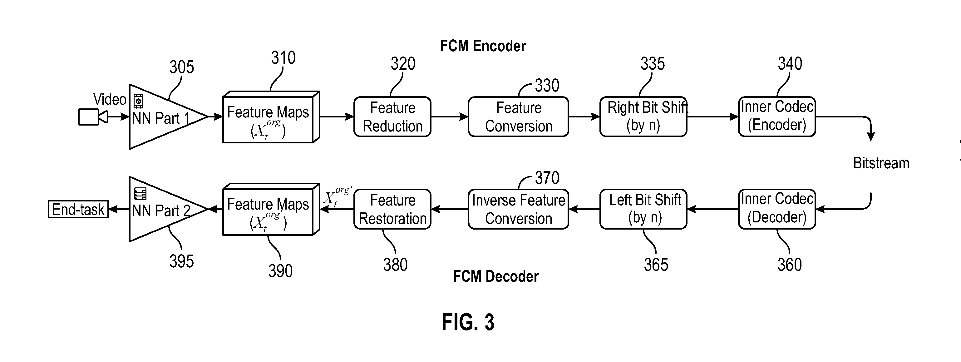
SYSTEMS, METHODS AND BITSTREAMS FOR FEATURE CODING FOR MACHINE APPLICATIONS WITH BIT-SHIFTAbstract:Systems and methods are provided to improve encoding and decoding of video in a system for feature coding for machines (FCM). At an encoder site, a right shift operation is performed on tensors of feature maps representing the video signal, removing n least significant bits from each tensor. This reduces the required bandwidth of the resulting encoded bitstream. At a decoder site, a left shift operation is performed on the decoded and reconstructed tensor values to restore the values of the most significant bits of the tensors while replacing the removed LSBs not considered critical to a machine task with zeroes. |
|
SYSTEMS AND METHODS FOR REGION PACKING BASED COMPRESSIONAbstract:Systems and methods for video coding and decoding using region packing are provided. At an encoder, a region detection module receives a video frame for encoding, identifies regions of interest in the video frame, and generates a bounding box for each region of interest. A region extractor module obtains the pixels within the bounding box from the video frame. A region packing module receives the identified regions of interest and arranges the bounding boxes within a packed frame substantially reducing the data to be encoded outside the identified regions of interest. A video encoder receives the packed frame and generates an encoded bitstream therefrom. At the decoder, the encoded bitstream is decoded and parameters sufficient to place the regions within a reconstructed frame are extracted. A reconstructed frame is generated which substantially maintains the spatial relationship and size of regions of interest in the original video frame. |
